华为曝光一底双长焦专利:Pura 80系列首发
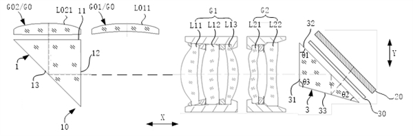
快科技6月6日消息,国家知识产权局最新公开信息显示,华为全新“一底双长焦”摄像头结构专利正式亮相,该技术创新地通过可移动棱镜的位置切换实现长焦和超长焦之间的光路切换,使得两组不同焦距的前透镜组分别与后镜群形成两种焦段。
其中,两种焦段共用大底CMOS传感器和传感器防抖模块,显著提升了双焦段摄影成像效果。

华为曝光一底双长焦专利:Pura 80系列首发
据悉,这项专利将应用于华为Pura 80系列,带来突破行业现状的国产长焦创新方案。
众所周知,传统双长焦需两套完整CMOS+镜头模组,华为这套方案实现了两种焦段共用大底CMOS,如此一来,它能大幅节省手机内部空间,实现一镜多用。

华为曝光一底双长焦专利:Pura 80系列首发
另外,华为Pura 80系列主摄将搭载思特威SC5A0CS,是最新的国产一英寸镜皇,根据供应链信息,SC5A0CS由华为与思特威联合研发。
SC5A0CS采用1英寸超大底,搭配RYYB滤光阵列,感光能力较传统RGGB大幅提升,暗光成像可实现“夜视仪”效果。
该机将于6月11日登场。

华为曝光一底双长焦专利:Pura 80系列首发
【本文结束】出处:快科技
版权声明
本文仅代表作者观点,不代表xx立场。
本文系作者授权xx发表,未经许可,不得转载。
他说网